為更好提供政府信息公開服務,方便公民、法人及其他組織快速、準確地查找陽江市財政局依法公開的政府信息,根據《中華人民共和國政府信息公開條例》(2019年5月施行,以下簡稱《條例》)的規定,制定本指南。
一、主動公開
(一)公開范圍
依據《條例》第十九條、第二十條規定主動公開的政府信息。主要包括:
1.機構概況:包括市財政局基本信息、領導成員、“三定”規定及局直屬單位等。
2.工作動態:發布市財政局工作動態信息。
3.政策文件:財政部出臺的規范性制度文件;省財政廳出臺的規范性制度文件;市財政局出臺的規范性制度文件;市財政局出臺的其他文件等。
4.政策解讀:解讀文件名稱、解讀內容等,以及新聞宣傳稿件。
5.預算、決算管理:市級預決算、市財政局部門預決算等。
6.重點領域信息公開:包括“三公”經費、全市財政收支情況、財政專項信息、PPP項目等。
7.信息公開指南:本機關政府信息公開采取主動公開和依申請公開兩種方式。
8.行政許可:行政許可事項清單及辦事指南、行政許可事項審批結果等業務管理;扶貧資金管理、地方政府債務信息、政府和社會資本合作(PPP)等財政業務管理信息。
9.行政檢查及行政處罰等行政執法:隨機抽查事項清單;行政檢查抽查信息;行政處罰結果等。
10.行政事業性收費和政府性基金:全市行政事業性收費目錄清單及市財政局行政事業性收費項目及其依據、標準。
11.政府采購:全市政府采購情況,市財政局政府采購計劃及項目實施情況。
12.人員招錄:包括市財政局招考通知、考試信息、錄用公告等。
13.綜合管理:包括主動公開目錄、建議提案辦理、群眾信訪等。
(二)公開方式
陽江市財政局依法公開的政府信息主要是通過陽江市政府網(政務公開-政府信息公開目錄-市財政局)公開,輔以政府公報、新聞發布會、報刊、廣播、電視等其他方式公開。
陽江市政府門戶網站(網址:http://m.xz2121.com)開設陽江市財政局政府信息公開欄目,公眾可通過陽江市財政局政府信息公開目錄的引導,線上查找陽江市財政局公開的政府信息。
陽江市財政局公開政府信息的編排體系見下表:
同時,陽江市財政局為社會公眾提供線下政府信息查詢。地址:陽江市財政局(陽江市石灣北路225號十樓辦公室)。
二、依申請公開
除主動公開的政府信息外,公民、法人或者其他組織可以依法向陽江市財政局申請獲取相關政府信息。
(一)受理機構、時間、地點
陽江市財政局政府信息公開受理機構為陽江市財政局辦公室,詳細地址:石灣北路225號十樓辦公室。辦公時間:周一至周五,8:30-12:00,14:30-17:30(節假日、公休日除外)。聯系電話:0662-3420003,傳真號碼:0662-3420002,郵政編碼:529500。電子郵箱:yjsczj@163.com。
(二)提出申請
向市財政局申請獲取政府信息的公民、法人或者其他組織(以下簡稱申請人),應當填寫《陽江市財政局政府信息公開申請表》(以下簡稱《申請表》,見附件)?!渡暾埍怼房梢栽谑芾頇C構處領取,也可以在市財政局網站(http://m.xz2121.com/yjczj/gkmlpt/index)(政務公開>政府信息公開>政府信息公開指南)下載,復制有效。
1.申請人提出的政府信息公開申請應當真實載明下列內容:
?。?)申請人的姓名或名稱、有效身份證明、聯系方式。
?。?)申請公開的政府信息的名稱、文號或者便于行政機關查詢的其他特征性描述。所需的政府信息應當描述明確、詳盡,有助于受理機構確定信息內容。
?。?)申請公開的政府信息的形式要求,包括獲取信息的方式、途徑。
?。?)當面申請的,應當出示有效身份證件;通過郵政寄送提交申請的,應隨申請表附有效身份證件復印件;網上申請的,應上傳有效身份證件掃描件或照片。
?。?)承諾所獲取的政府信息,只用于自身的需要,不作任何炒作及隨意擴大公開范圍。
2.申請人可以通過以下方式提出申請:
(1)書面申請。
?、佼斆嫣峤?/p>
申請人可到本機關受理機構現場當面提交申請。
地址:陽江市江城區石灣北路225號,辦公時間:周一至周五,8:30-12:00,14:30-17:30(節假日、公休日除外)。
?、谛藕峤?/p>
申請人通過信函方式提出申請的,應當在信封的顯著位置標注“政府信息公開申請”字樣,以“郵政寄送”方式提交申請。
(2)通過互聯網提交申請。
申請人登錄市財政局網站,打開“政府信息依申請公開”欄目(政務公開>政府信息公開>政府信息公開指南),填寫電子版《陽江市財政局政府信息公開申請表》后直接提交。
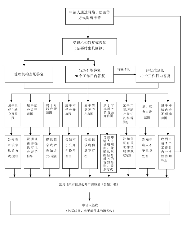
(三)申請處理
登記初審。受理機構收到申請后,將進行登記和初審(必要時將出具回執)。
初審內容包括:所需政府信息描述是否明確,形式要件是否完整,身份證明是否真實。
政府信息公開申請內容不明確的,自收到申請之日起7個工作日內告知申請人作出補正。申請人無正當理由逾期不補正的,視為放棄申請,本機關不再處理該政府信息公開申請。
經初審申請符合受理各項規定的,將根據不同情況作出答復。
(四)申請時間的確認
1.申請人當面提交政府信息公開申請的,以提交之日為收到申請之日;
2.申請人以郵寄方式提交政府信息公開申請的,以行政機關簽收之日為收到申請之日;
3.以平常信函等無需簽收的郵寄方式提交政府信息公開申請的,政府信息公開工作機構應當于收到申請的當日與申請人確認,確認之日為收到申請之日;
4.申請人通過互聯網渠道或者政府信息公開工作機構的傳真提交政府信息公開申請的,以雙方確認之日為收到申請之日。
(五)答復
對于能夠當場答復的政府信息公開申請,將當場答復;不能當場答復的,自收到申請之日起20個工作日內予以答復;確需延長答復期限的,經陽江市財政局政府信息公開工作機構負責人同意,延長答復時間不超過20個工作日,并告知申請人。本機關征求第三方和其他機關意見所需時間不計算在前款規定的期限內。
1.所申請公開信息已經主動公開的,告知申請人獲取該政府信息的方式、途徑;
2.所申請公開信息可以公開的,向申請人提供該政府信息,或者告知申請人獲取該政府信息的方式、途徑和時間;
3.本機關依據條例規定決定不予公開的,告知申請人不予公開并說明理由;
4.經檢索沒有所申請公開信息的,告知申請人該政府信息不存在;
5.所申請公開信息不屬于本機關負責公開的,告知申請人并說明理由;能夠確定負責公開該政府信息的行政機關的,告知申請人該行政機關的名稱、聯系方式;
6.本機關已就申請人提出的政府信息公開申請作出答復、申請人重復申請公開相同政府信息的,告知申請人不予重復處理;
7.所申請公開信息屬于工商、不動產登記資料等信息,有關法律、行政法規對信息的獲取有特別規定的,告知申請人依照有關法律、行政法規的規定辦理;
8.申請公開的政府信息中含有不應當公開的內容,但能作區分處理的,向申請人提供可以公開的部分內容,對不予公開的部分告知其理由;
9.申請公開的政府信息涉及商業秘密、個人隱私,但經征得權利人同意公開或者本機關認為不公開可能對公共利益造成重大影響的,告知申請人獲取該政府信息的方式和途徑,并將決定公開的內容和理由書面告知權利人。
(六)收費
《條例》第四十二條規定:行政機關依申請提供政府信息,不收取費用。但是,申請人申請公開政府信息的數量、頻次明顯超過合理范圍的,行政機關可以收取信息處理費。行政機關收取信息處理費的具體辦法參照國辦函〔2020〕109號執行。
(七)監督保障
公民、法人或者其他組織認為受理機構未依法履行政府信息公開義務的,可以根據《條例》第四十六條、第五十一條規定,可以向上一級行政機關或者政府信息公開工作主管部門投訴、舉報。公民、法人或者其他組織認為行政機關在政府信息公開工作中侵犯其合法利益的,也可以依法申請行政復議或提起行政訴訟。
陽江市財政局處理政府信息公開申請流程圖
